据悉,中国某口罩制造商因向美国出口约50万个问题口罩而被美国司法部起诉。
美国司法部(Justice Department)在一份新闻稿中表示,该公司为King Yearr Packaging and Printing Co. Ltd.(金年包装印刷有限公司),将面临最高50万美元的罚款或总收益和总损失,以4项指控中每项指控中金额的最高金额为准。指控如果成立,这家企业将面临共计至少150万美元(约合1062万人民币)的巨额罚款!
该部门在一份声明中表示,从2020年4月6日到2020年4月21日,King Year生产了495,200个假冒伪劣N95口罩,并将这些有缺陷的产品出口到美国。为了直接吸引了医护人员和其他消费者,King Year在其呼吸器的包装上盖了NIOSH和FDA认证标识,而实际上,这家中国口罩企业口罩未经NIOSH批准,也未经过FDA授权。虽然口罩上面印有“ N95”,实际检测出来的过滤效果远低于N95口罩最低95%的要求。
美国司法部认为这是严重的欺骗包括医护人员和急救人员在内的美国消费者的行为。并使他们处于危险之中。而为了掩盖其呼吸器质量低下的问题,King Year还对外散布了证明其真实性的虚假文件,并向FDA提交了欺诈性注册声明。

“某中国制造商被指控在疫情期间生产和出口到美国中近50万错贴标签且有缺陷的口罩,并错误地声称为N95防护口罩。”司法部在周五(6月5日)在一份新闻稿中援引新闻机构ANI。
另外,由美国司法部组建的一个新疫情囤积和价格专职小组发现并起诉了这家中国公司。
“King Year包装印刷有限公司被控向三次违反《联邦食品、药品和化妆品法案》(FDCA)出口伪劣口罩,错误地声称满足N95标准进口到美国。”发布补充道。
其他国家也注意到中国企业为抗击疫情的传播,提供了不合格的口罩、检测工具、个人防护装备等。
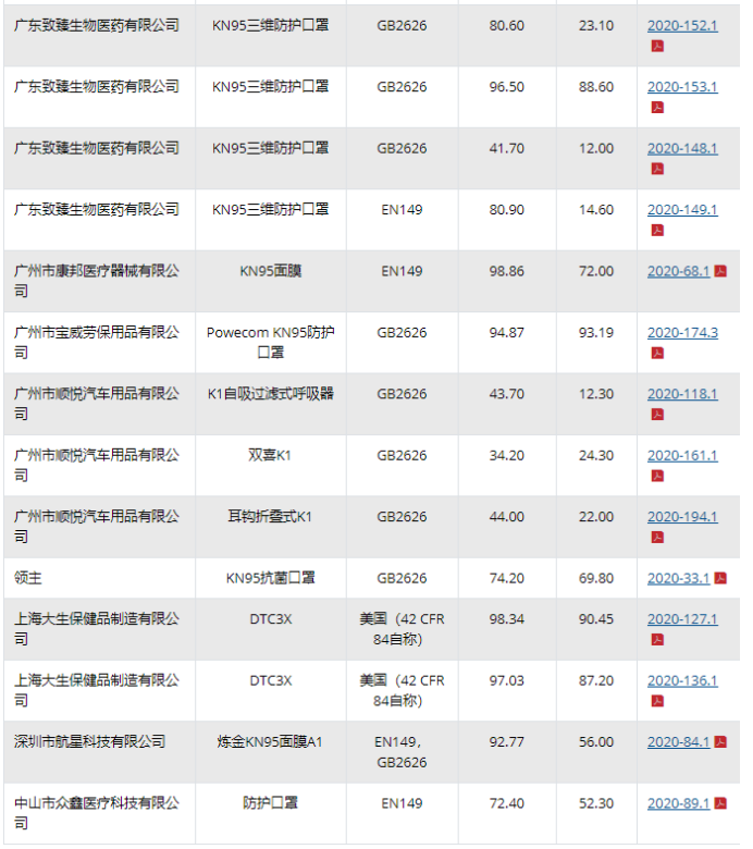
据了解,NIOSH已获悉,中国许多合法制造商已被伪造。在这种情况下,NIOSH无法验证哪些产品是假冒的,哪些是真实的。虽然表中列出的制造商显示为所评估产品的制造商,但NIOSH已获悉其中一些实际上是假冒产品。某些具有合法制造商名称的产品,其过滤器渗透效果不佳(<95%),是假冒产品。许多制造商还通知NIOSH,他们未生产与其名称相关的产品。

以下是CDC列明的一些违规企业:

亚马逊咨询交流微信:13536789215
欢迎关注公众号:跨境电商betway官网体育
每天早上八点,准时推送跨境干货
喜欢老魏的文章,觉得老魏的文章对你有帮助
欢迎点赞评论或转发
亚马逊新手运营交流群:707027292
真诚的提醒您,疫情当下,注意安全!
*以上内容属作者个人观点,不代表betway官网体育立场!如有侵权,请联系我们。